常见的危险品包装标签及避免错误贴法
发布时间:2023-06-05
作者:
浏览次数:1348
前 言
随着出口危险品及其包装业务剧增,不少生产企业忽略了小小的标签,出现了各种标签不合格的情况,读懂标签是保证安全生产的重要一步。
一、危险品标签相关法规标准
国内外常见的危险化学品(危险货物)标签有关法规标准有:
《危险化学品安全管理条例》(国务院令第591号)
GB190-2009 危险货物包装标志
SN/T0370.1-2021出口危险货物包装检验规程 第一部分:总则
SN/T0370.2-2021 出口危险货物包装检验规程 第三部分:使用鉴定
《全球化学品统一分类和标签制度》(GHS)
联合国《关于危险货物运输的建议书 规章范本》(UN TDG)
二、常见标记和标签样式
(一)危险货物包装标记
标记指有包装的危险货物,须在包件上显示危险货物的正式运输名称、技术名称(如有)以及“UN”打头的联合国编号;如果物品无包装,则须将标记显示在物品上、托架上或在其装卸、储存或发射装置上。一些特殊标记如下图所示:
(二)危险货物运输标签
危险货物标签用来表示危险货物的主要和次要危险性(如有)。
第1类 爆炸品
1.1项:有整体爆炸危险的物质和物品。
1.2项:有迸射危险但无整体爆炸危险的物质和物品。
1.3项:有燃烧危险并有局部爆炸或局部迸射危险或这两种危险都有、但无整体爆炸危险的物质和物品。
1.4项:不呈现重大危险的物质和物品。
1.5项:有整体爆炸危险的非常不敏感物质。
1.6项:无整体爆炸危险的极端不敏感物质。
第2类 气体
2.1项:易燃气体。
2.2项:非易燃无毒气体。
2.3项:毒性气体。
第3类 易燃液体
第4类 易燃固体
4.1项: 易燃固体;
易燃固体;
自反应物质;
固态退敏爆炸品。
4.2项: 易于自燃的物质;
4.3项: 遇水放出易燃气体的物质。
第5类 氧化性物质和有机过氧化物
5.1项: 氧化性物质;
5.2项: 有机过氧化物。
第6类 毒性物质和感染性物质
6.1项 毒性物质;
6.2项 感染性物质。
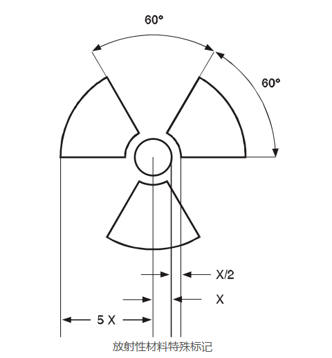
第7类 放射性物质
第8类 腐蚀性物质
第9类 杂项危险物质和物品,包括危害环境物质
(三)危险公示标签
按照《全球化学品统一分类和标签制度》(GHS)的定义,危险公示标签是指关于危险品的一组相应的书面、印刷或图形信息要素,因与目标部门相关而选定,标签固定、印刷或附着在危险品的直接容器上或外包装上。
三、标签的作用
危险货物运输标签及危险公示标签,应加贴于包装容器外表面上,用于表明货物的危险属性、警示信息和防范处置要求,供可能接触到危险货物的人员知晓货物的危险性和应急处置要求,避免造成伤害。
“
四、如何贴好标签
(一)危险货物运输标签
1.尺寸
包装容器上张贴的危险货物运输标签最小尺寸为100×100mm。(除非包装的尺寸只能贴较小的标签,标志尺寸可按规定适当压缩,但仍应清晰可见且比例适当。)
2.方向
按照包装容器直立方向呈45度角张贴,不能横置或倒贴。
3.格式
危险货物运输标签的边缘要加一个黑色边框,边框外应留大于或等于5mm的空白,边框宽度大于或等于1mm。
4.内容
字符图案和颜色应与上面图示相同。
5.材料
应能够经受日晒雨淋而不显著减弱其效果。张贴要牢固,运输、存储中不能损坏或脱落。
6.位置
危险货物运输标签应粘贴、挂栓或喷印在包装或容器的明显位置,不应被容器任何部位或其他标签标记遮挡。
7.其它容器要求
容量超过450L的中型散货集装箱和大型容器,应在相对的两面贴运输标签。
(二)危险公示标签
1.格式
危险公示标签六要素:1)信号词;2)危险性说明;3)防范说明;4)象形图;5)产品标识符;6)生产商/供应商标识等。
2.尺寸
3.内容
内容应完整,中外文的内容需一致。
4.象形图颜色
象形图的颜色一般使用黑色图形符号和白色反差底色,边框为红色并足够宽,以便醒目。若货物不出口,仅在国内使用,主管部门可允许边框使用黑色。
5.纸张材料
所使用的印刷材料和胶粘材料应具有耐用性和防水性。
6.小容器与组合容器的要求
内容器包装面积不够大,不能把所要求的标签要素全部纳入时,可使用简化标签,应包含下列最低限度信息:
按GHS有关要求,组合容器的内包装应张贴危险公示标签,外包装仅要求有联合国运输标记和标签;但我国《危险化学品安全管理条例》第十五条规定,危险化学品生产企业(应在)危险化学品包装(包括外包装件)上粘贴或拴挂与包装内危险化学品相符的化学品安全标签(危险公示标签),危险化学品出口企业应特别关注上述要求的差异性。
►►►
常见危险品包装标签
不合格情况
1.危险货物运输标签漏贴。
//
不合格依据:SN/T0370.1-2021《出口危险货物包装检验规程第一部分:总则》5.2.2“每一个容器应带有耐久、易辨认、与容器相比位置合适、大小适当的明显标记”。
2.危险公示标签破损。
3.危险货物运输标签尺寸不符合标准。
4.危险货物运输标签底色不符合要求。
包装纸箱上的运输标签为直接在纸箱外表面印刷(纸箱底色为土黄色)。不合格依据:GB190-2009《危险货物包装标志》3标志分类2标签序号9“底色:白色”;附录A2.1.9“标签应贴在反衬颜色的表面上”。
5.危险货物运输标签、危险公示标签以普通A4纸张打印,且直接粘贴在包装外缠绕薄膜上。
不合格依据:SN/T0370.1-2021《出口危险货物包装检验规程第1部分:总则》附录A中A.1.2.b)“应能够经受日晒雨淋而不显著减弱其效果”A2.2 g)“所有标记应该受得住风吹雨打日晒,而不明显降其效果。”
6.出口危险品运输标签倒贴。
不合格依据:GB190-2009《危险货物包装标志》附录A中A.2.2 c)“标签的上半部分为图形符号,下半部分为文字和类号或项号和适当的配装字母”。









